1. <option id="rkagn"></option>
    <ol id="rkagn"></ol>
      川滬首頁 >> 產品展示 >> 電磁閥 >> ZCSA塑料電磁閥

      ZCSA塑料電磁閥

       ZCSA系列電磁閥  ZCSA系列電磁閥,外型尺寸圖
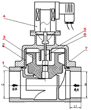
      ZCSA塑料電磁閥 ZCSA塑料電磁閥 1.閥體2.大襯套3.閥芯4.線圈5.小襯套6.閥桿7.閥帽

      一、ZCSA塑料電磁閥 應用范圍

      石油、煤氣、食品、醫(yī)藥等行業(yè)

      二、ZCSA塑料電磁閥 工作原理

      ZCSA塑料電磁閥的電磁線圈通電時,動鐵芯被吸合,帶動閥桿上移,彈簧同時被壓縮,使閥桿與閥芯中孔(先導孔)分離,閥芯上腔的流體瞬間從中孔缷壓,缷壓后閥芯在上下腔壓差的作用下快速向上浮起,電磁閥開啟。電磁閥的線圈斷電時,閥桿在彈簧力的作用下關閉閥芯中孔,并推動閥芯向下移,封住流體出口,電磁閥關閉。

      三、ZCSA塑料電磁閥 技術參數

      閥體材質:ABS
      閥芯材料:工程塑料
      控制方式:常閉式
      流體范圍:液體、氣體
      流體溫度:≤60℃、≤110℃
      公稱通徑:DN15—DN80
      公稱壓力:1.0 1.6Mpa
      工作壓差:0.01--1.0Mpa
      標準電壓:AC220V、DC24V
      額定流量系數:4---70Kv
      額定功率:22—42VA
      泄露量:0ml/min

      四、ZCSA塑料電磁閥 產品特點

      浮動閥芯 耐臟抗渣 進口線圈 性能穩(wěn)定
      誘導啟閉 密封性好 材質獨特 無垢無銹
      超大口徑 流通量大 價格低廉 實用性強

      五、ZCSA塑料電磁閥 安裝尺寸

      公稱通徑 DN 粘接承口 內徑de 內螺紋 連接G 承插長度L1 長*寬*高 帶法蘭 長*寬*高
      15 20 1/2" 16.5 68*40*141.5 112*95*174
      20 25 3/4" 18 75*46*150 125*105*184.5
      25 32 1" 22 95*58*182 51*115*216.5
      32 40 1(1/4)" 26 130*85*234 194*140*276.5
      40 50 1(1/2)" 31.5 145*85*243 217*145*283
      50 63 2" 38 180*107*267 270*165*312
      65 75 2(1/2)" 44 215*134*332 315*185*378
      80 90 3" 51 255*165*359 365*200*403.5

      1. <option id="rkagn"></option>
        <ol id="rkagn"></ol>